C5 Tech Corvette Tech/Performance: LS1 Corvette Technical Info, Internal Engine, External Engine, Tech Topics, Basic Tech, Maintenance, How to Remove & Replace
Sponsored by:
Sponsored by:

Reverse lights out

Thread Tools
 
Search this Thread
 
Old Jul 3, 2009 | 07:31 PM
  #1  
SlowFRC's Avatar
SlowFRC
Thread Starter
Racer
 
Joined: Aug 2008
Posts: 349
Likes: 0
From: Northern Virginia
Default Reverse lights out

My back up lights haven't worked on my car since I got it a year ago. The lights don't work when I unlock with the key fob or when I put the car is reverse. I searched but every topic on the subject was dealing with if your back up lights worked when you unlocked but didn't work when you put it in reverse, in my case they don't work ever. I know the problem could be the reverse switch on the tranny or one of (I think) 2 fuses. Since my reverse lights don't work ever does that narrow down what could be causing the problem? If it's a fuse issue what fuse would it be and which fuse box would it be in?

Thanks in advance for the help.
Reply
Old Jul 3, 2009 | 08:37 PM
  #2  
SkyWarp's Avatar
SkyWarp
Pro
 
Joined: Feb 2006
Posts: 587
Likes: 0
From: Toronto Ontario
Default

this should help
http://forums.corvetteforum.com/c5-t...ulbs-work.html

Rob
Reply
Old Jul 3, 2009 | 08:52 PM
  #3  
Alaskanpilot's Avatar
Alaskanpilot
Safety Car
10 Year Member
 
Joined: Sep 2007
Posts: 3,816
Likes: 16
From: Anchorage Alaska
St. Jude Donor '08-'09-'10
Default

Originally Posted by SkyWarp


Happened to me last month.

I tried replacing the fuse, but it promptly blew again when I shifted into reverse the first time. At that point it was obvious something ELSE was broke, that kept triggering the fuse to blow. You'll probably also notice your auto-dimming rear view mirror won't dim. (If you have one). Turns out they are both on the same circuit, or something like that. Who knew that to fix my rearview mirror I had to replace a reverse sensor??

FYI I found the sensor in stock at NAPA for pretty cheap.
Reply
Old Jul 4, 2009 | 03:16 AM
  #4  
DeeGee's Avatar
DeeGee
Tech Contributor
20 Year Member
Top Answer: 1
 
Joined: Dec 2003
Posts: 19,384
Likes: 87
From: Horncastle Lincolnshire, England
2023 C5 of the Year Finalist - Unmodified
Default

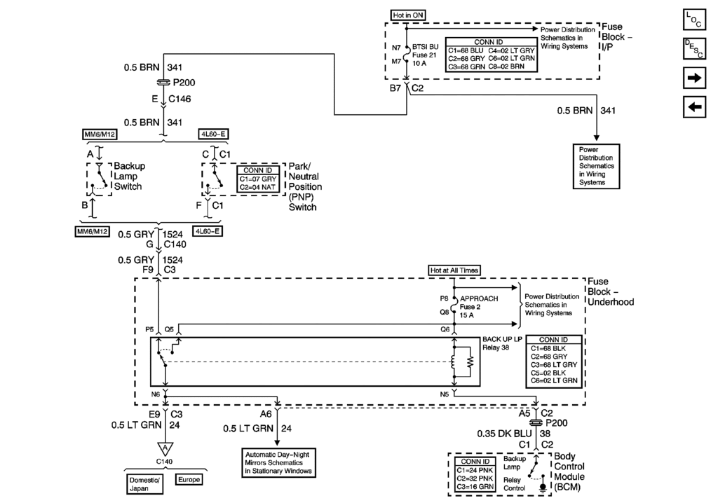
Its fuse #2 and relay #38 (lamps) on the engine panel and fuse #21 (switches) on the footwell panel are all in play for the back up lights. Worth checking all of them

You'll need to find out why the fuse blew in the first place and its probably the reversing light switch on the transmission. Its a cheap part and often fails. Not had the problem on the Vette but my son's Camaro is on its 4th switch.


Last edited by DeeGee; Jul 4, 2009 at 03:19 AM.
Reply
Old Jul 4, 2009 | 10:19 AM
  #5  
SlowFRC's Avatar
SlowFRC
Thread Starter
Racer
 
Joined: Aug 2008
Posts: 349
Likes: 0
From: Northern Virginia
Default

Originally Posted by SkyWarp
Thanks for the link but these are the kind of posts I was refering to when I said everyone else who posts about this problem has their works when they unlock with the key fob but not when they put the car in reverse. I was hoping that since my lights never work it would narrow down the problem to either the switch or the fuse or maybe something different.

Thanks deegee for the fuse numbers, I'll try replacing those today and if that doesn't do it then I'll relpace the switch on the tranny.
Reply
Old Jul 4, 2009 | 11:12 AM
  #6  
byronhunter's Avatar
byronhunter
Melting Slicks
15 Year Member
All Eyes On Me
 
Joined: Oct 2007
Posts: 2,383
Likes: 13
From: Kinston North Carolina
Default

If you start troubleshooting, this might come on handy!

Reply
Old Jul 4, 2009 | 01:03 PM
  #7  
ajg1915's Avatar
ajg1915
Race Director
Supporting Lifetime Gold
20 Year Member
Conversation Starter
All Eyes On Me
 
Joined: May 2005
Posts: 15,960
Likes: 21
From: West Norriton PA
St. Jude Donor '08
Default

Pretty easy to dignose if it's the switch. Put the key in and turn to the on position and put car in reverse. Take a test light and see if you're getting power down to the end connector at tranny. If so, it's the switch.

Originally Posted by byronhunter
If you start troubleshooting, this might come on handy!

Reply

Get notified of new replies

To Reverse lights out





All times are GMT -4. The time now is 09:52 AM.

story-0
150 hp to 1,250 hp: Every Corvette Generation Compared by the Specs That Matter

Slideshow: From C1 to C8 we compare every Corvette generation by the numbers.

By Joe Kucinski | 2026-05-12 16:54:12


VIEW MORE
story-1
8 Coolest Corvette Pace Cars (and Replicas) of All Time

Slideshow: Some Corvette pace cars became collectible legends, while others perfectly captured the look and attitude of their era.

By Verdad Gallardo | 2026-05-11 09:50:51


VIEW MORE
story-2
Top 10 Corvette Engines RANKED by Peak Torque (70+ Years of Muscle!)

Slideshow: Ranking the top 10 Corvette engines by torque output.

By Joe Kucinski | 2026-05-05 11:58:09


VIEW MORE
story-3
Corvette ZR1X Will Be Pacing the Indy 500, And Could Probably Race, Too!

Slideshow: A Corvette pace car nearly matching IndyCar speeds sounds exaggerated, until you look at the numbers.

By Verdad Gallardo | 2026-05-04 20:03:36


VIEW MORE
story-4
Top 10 Corvettes Coming to Mecum Indy 2026!

Among a rather large group of them.

By Brett Foote | 2026-05-04 13:56:44


VIEW MORE
story-5
Top 10 C9 Corvette MUST-HAVES to Fix These C8 Generation Flaws!

Slideshow: the top 10 things Corvette owners want in the C9 Corvette

By Michael S. Palmer | 2026-04-30 12:41:15


VIEW MORE
story-6
10 Revolutionary 'Corvette Firsts' Most People Don't Know

Slideshow: 10 Important Corvette 'firsts' that every fan should know.

By Joe Kucinski | 2026-04-29 17:02:16


VIEW MORE
story-7
5 Reasons to Upgrade to an LS6-Powered Corvette; 5 Reasons to Stay LT2

Slideshow: Should you buy a 2020-2026 Corvette or wait for 2027?

By Michael S. Palmer | 2026-04-22 10:08:58


VIEW MORE
story-8
2027 Corvette vs The World: Every C8 vs Its Closest Competitor

Slideshow: 2027 Corvette lineup vs the world.

By Joe Kucinski | 2026-04-24 16:12:42


VIEW MORE
story-9
10 Most Common Corvette Problems of the Last 20 Years!

Slideshow: 10 major Corvette problems from the last 20 years.

By Joe Kucinski | 2026-04-14 16:37:05


VIEW MORE